Sony pracuje na technologii umožňující skenování předmětů a jejich přenesení do virtuálního světa
i Zdroj: Hrej.cz
Novinka Sony pracuje na technologii umožňující skenování předmětů a jejich přenesení do virtuálního světa

Sony pracuje na technologii umožňující skenování předmětů a jejich přenesení do virtuálního světa

Jakub Štěpánek

Jakub Štěpánek

Společnost Sony na veletrhu CES2022 konečně prolomila dlouhé mlčení ohledně druhé generace virtuální reality pro konzole PlayStation 5. Oficiální představení nyní doplňuje patent, který poukazuje na možnosti chystaného headsetu.

Odměníme každého! Vyplňte komunitní průzkum a získejte luxusní ceny

Odměníme každého! Vyplňte komunitní průzkum a získejte luxusní ceny

Kdo jste, na čem a co hrajete, jaký obsah konzumujete a jaký vztah máte k AI? Věnujte nám pár minut a jako dárek za vyplnění získáte slevu na nákup a šanci získat také další luxusní ceny.

Reklama


  • Patent poukazuje na “3D skener”
  • Technologie umožňuje virtualizaci skutečných předmětů
  • Počítá se i s možností nastavit konkrétní parametry
  • Mohlo by jít o funkcionalitu PSVR2

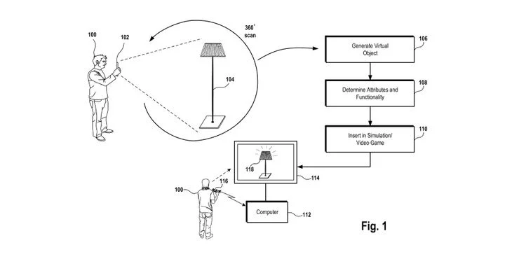
O patentu informoval server Game Rant, Sony si jej zaregistrovala už loni v létě. V principu popisuje technologii, která umožňuje skenování předmětů ze skutečného světa a jejich převod v digitální 3D objekt, s nímž uživatelé následně mohou dále pracovat. Součástí virtualizace by měla být i možnost nastavit vlastnosti a účel daného předmětu. Zde už sice podrobnější informace chybí, konkrétní parametry se ale přímo nabízí (například váha, typ povrchu a tak dále). Patent doplňuje názorný obrázek. Samozřejmě se také může stát, že nápad nakonec zůstane v šuplíku a nestane se součástí PSVR2, s tím se zkrátka musí počítat. Možná dokonce ani nesouvisí s virtuální realitou.

Sony pracuje na technologii umožňující skenování předmětů a jejich přenesení do virtuálního světa
i Zdroj: Hrej.cz

Sony se během oficiálního představení věnovala jiným vychytávkám. Emoce budí vibrace, které kromě ovladačů proniknou i do samotného headsetu, což je poměrně odvážný krok. Podobné pokusy prováděli někteří výrobci herních sluchátek, nedá se ale říct, že si je lidé zamilovali.

PSVR2 bude podporovat 4K rozlišení i HDR, využije OLED panely s rozlišením 2000x2040 pixelů na jedno oko, celkový rozsah je stanoven na 110 stupňů. Do brýlí budou zabudovány čtyři kamery sledující okolí a ovladače, vnitřní senzory zase zajistí eye tracking. I nadále se bohužel počítá s kabelovým připojením ke konzoli.

PlayStation představuje druhou generaci PSVR. Jednoduché jméno doplňují komplexní novinky
i Zdroj: Hrej.cz

PlayStation představuje druhou generaci PSVR. Jednoduché jméno doplňují komplexní novinky

V americkém Las Vegas se právě dnes otevírají brány největšího veletrhu elektroniky CES 2022. Právě tento veletrh ukazuje, jakým směrem se budou posouvat nejnovější kousky spotřební elektroniky, nesmí tak chybět největší výrobci jako je NVIDIA, AMD, Samsung nebo třeba Sony. To se tentokrát kromě vlastní divize soustředilo i na PlayStation, pro jehož fanoušky vedení představilo novou generaci virtuální reality.


Reklama
Reklama

Související články

Komentáře

Nejsi přihlášený(á)

Pro psaní a hodnocení komentářů se prosím přihlas ke svému účtu nebo si jej vytvoř.

Rychlé přihlášení přes:

Reklama
Reklama
Reklama